Suivez-nous

Apple

Apple anticipe sur un capteur pouvant prévenir des risques environnementaux

Publié le

 

apple-watch-brevet-sante-2.jpgL’Apple Watch permet grâce à des
capteurs en contact avec la peau de garder un oeil en permanence sur le rythme
cardiaque du porteur, et d’agir en conséquence si des irrégularités sont
constatées. C’est déjà très bien, mais Apple envisage un capteur
additionnel
pour l’iPhone ou l’Apple Watch.

C’est ce qu’a dévoilé le site web du bureau américain des brevets. Apple y
décrit comment un capteur d’un nouveau type pourrait être intégré à un iPhone
ou une Apple Watch afin de prévenir le porteur des risques environnementaux de
son environnement proche.

Ce capteur pourrait à intervalle régulier mesurer des échantillons
de gas et de divers liquides
avec lesquels il entre en contact, et
prévenir l’utilisateur en cas de risque environnemental, comme
un excès de monoxyde de carbone pouvant entrainer une intoxication.

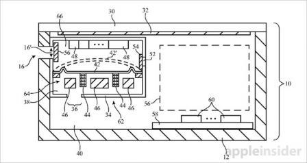
brevet-apple-capteur-environnemental.jpg

D’après le brevet, le capteur de mesure serait placé à proximité des
hauts-parleurs afin de pouvoir effectuer des mesures de gaz (air) et liquides à
travers les grilles des hauts-parleurs.

Si ce capteur détecte un danger potentiel pour le porteur de l’appareil, il
prévient ce dernier via une alerte visuelle, audio, ou encore une vibration
assez forte.

Comme d’habitude avec les brevets d’Apple, rien ne dit qu’ils seront
utilisés dans leurs produits, toutefois cela donne une idée des voies explorées
par Apple pour améliorer ses produits, et dans de cas-ci la santé de ses
utilisateurs.

Avec les nombreux problèmes de pollution auxquels on est confronté,
l’arrivée de tels appareils intégrés au smartphone pourrait n’être qu’une
question d’années. En attendant, des applications permettent de connaitre la
qualité de l’air autour de soi, on a ainsi vu récemment
celle de la région Auvergne Rhone Alpes ici
, ou encore Plume
Report là
. Plus d’applis sont à découvrir par ailleurs dans ce
dossier avec 8 apps
.


Source

i-nfo.fr - App officielle iPhon.fr
i-nfo.fr - App officielle iPhon.fr
Par : Keleops AG
4.3 / 5
734 avis

Rédacteur en chef adjoint, aussi connu sous le pseudo de Teza. Ancien journaliste dans les jeux vidéo, qui baigne dans la tech et les produits Apple depuis son tout premier iPhone 3GS en 2009. Il a depuis travaillé pour plusieurs sites tech américains et maintenant pour iPhon.fr. Accessoirement YouTubeur et spécialiste des produits Apple sur la chaine MobileAddict. Pour me contacter : maxime[a]iphon.fr

7 Commentaires

7 Commentaires

  1. Raymond (posté avec l'app i-nfo.fr V2)

    2 avril 2017 à 13 h 48 min

    Un capteur d’odeur de pet a également été breveté.

  2. Winch (posté avec l'app i-nfo.fr V2)

    2 avril 2017 à 9 h 01 min

    @DrJonesTHX le monoxyde le plus dangereux , inodore te tue rapidement. Si tu
    n’es pas en train de dormir y’a quand même des signes.

  3. Birlou (posté avec l'app i-nfo.fr V2)

    1 avril 2017 à 23 h 45 min

    @DrJonesTHX
    C’est le monoxyde de carbone le plus dangereux. Je confirme. Tres rapidement
    mortel.

  4. DrJonesTHX (posté avec l'app i-nfo.fr V2)

    1 avril 2017 à 22 h 04 min

    C’est pour le monoxyde ou le dioxyde de carbone ?
    Car il me semble que c’est ce dernier le plus dangereux…

  5. grypas

    1 avril 2017 à 19 h 17 min

    Bon…on a déjà des alertes possibles via certains sites de contrôle de
    l’air de nos villes sur nos appareils connectés…Si on se rend pas compte
    qu’on nage dans un autre liquide que de l’eau
    claire…(goudron,huile,mazout,pétrole) y’a un soucis de conscience non ? et
    vibration ou pas…Mais il me semble qu’une montre de chantier a déjà ces
    spécificités…à GOOGLER de votre côté 😉
    Comment accorder à Apple un truc qui existe déjà si ce n’est protectionnisme ?
    (ou gros sousous car ont les moyens)

  6. Ormodr

    1 avril 2017 à 19 h 06 min

    Pendant ce temps là Samsung brûle les poignets de ses clients avec sa Gear
    Fit2.

    http://tinyurl.com/moh3xtg

    Comme ça si tu n’étais pas dans ta voiture quand elle a pris feu ou en train
    de téléphoner en te faisant cramer le visage grace au Galaxy S7, il te reste
    une chance d’être bruler au poignet. Ils ont vraiment tout prévu chez le
    copieur ?

  7. User1475126576181 (posté avec l'app i-nfo.fr V2)

    1 avril 2017 à 17 h 25 min

    Très très bonne idée d’Apple. Les meilleurs ??

Laisser un commentaire

Votre adresse e-mail ne sera pas publiée. Les champs obligatoires sont indiqués avec *