Apple imagine un casque audio qui sert … d’enceinte audio

Apple a été publié par le bureau américain des marques et des brevets. Il y est
question d’un nouveau système d’écouteurs ayant la capacité de se transformer
en haut-parleur. Ce n’est pas un concept vraiment nouveau, des projets de ce
type ont déjà vu le jour, même si cela restait jusque là très peu connu du
grand public. Il en serait évidemment tout autre si Apple proposait un tel
produit :
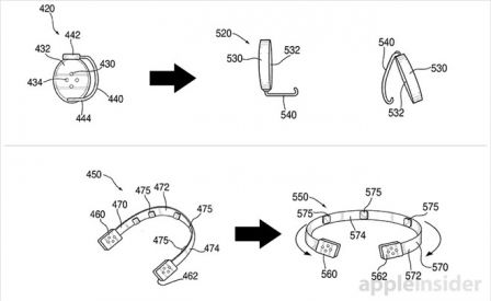
Le brevet décrit donc un casque pouvant fonctionner en deux modes
différents. Dans le mode "écouteurs", le son passe par un circuit que l’on
retrouve dans toute paire d’écouteurs classique, avec transduction
électroacoustique au plus proche des oreilles.
Dans un second mode, le mode "haut-parleur", le circuit empreinté serait
différent et amplifié par un amplificateur interne pour donner une transduction
électroacoustique puissante. Cela devrait émettre un son suffisamment fort pour
pouvoir poser le casque à côté de soi et entendre correctement ce qui en
sort.
Ergonomiquement, le casque peut donc se plier ou se déplier pour s’adapter à
chacun des deux modes d’écoute.
Côté utilisateur, pas besoin de déterminer manuellement le mode d’écoute, un
capteur interne analyserait la position du casque et active automatiquement le
mode "haut-parleur" ou "écouteurs" selon le cas.
Les AirPods d’Apple intègrent déjà des capteurs de reconnaissance de
position, puisque le son est coupé lorsqu’un des écouteurs est enlevé d’une
oreille. Le brevet décrit ici prouve en tous cas que la firme à la pomme a dans
l’idée de continuer à proposer bien plus pour ses écouteurs, qu’un simple
système de transmission du son.



ChloWé78 (posté avec l'app i-nfo.fr V2)
12 février 2017 à 19 h 22 min
?
Bon, ils sont en manque d’idée ?!
?
Rantanplan (posté avec l'app i-nfo.fr V2)
11 février 2017 à 13 h 13 min
Un grand n’importe quoi ?
Ils feraient mieux de s’intéresser à la batterie !
Terriblos (posté avec l'app i-nfo.fr V2)
11 février 2017 à 3 h 22 min
Il faut voir la qualité et la puissance
Est ce que ce sera mieux que le haut parleur de l’iPhone ?
Insomnia (posté avec l'app i-nfo.fr V2)
10 février 2017 à 19 h 33 min
En cas de défaillance du capteur faudrait qu’Apple prévoit que ca reste dans
la postion en place sinon jaimerai l’as etre un tympan
Dune (posté avec l'app i-nfo.fr V2)
10 février 2017 à 19 h 25 min
Je suis sur que des personnes vont portés plainte contre Apple car leur tout
nouveau casque leur a tuer les tympans car il s’est cru dans un mode
haut-parleur alors qu’il était sur les oreilles de quelqu’un !
Stpier09 (posté avec l'app i-nfo.fr V2)
10 février 2017 à 19 h 24 min
Sa pourrait être cool ?