Le bouton de l’iPhone utilisé comme joystick dans un brevet Apple

fabricants ont choisi de se passer de bouton physique, chez Apple, le bouton
‘home’ fait de la résistance.
Désormais doté du fameux ‘Touch ID’ le bouton home semble promis à un
brillant avenir. C’est du moins ce que laisse entendre une demande de brevet
faite par Apple.
En effet, le bouton que l’on connait bien pourrait jouer le rôle de
joystick :
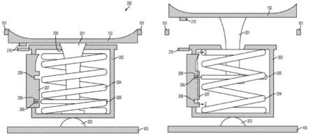
Dans le brevet que l’on découvre aujourd’hui, le bouton home continue de
jouer le rôle qu’on lui connait aujourd’hui. De même, le Touch ID y est
toujours présent. Cependant, un simple appui permet de faire se déplier le
bouton qui peut alors se comporte comme un tout petit joystick.
Pour faire revenir le bouton à sa place, même principe. Évidemment, il
s’agit là d’un tout petit joystick, mais Apple note dans le brevet que cette
technologie pourrait conduire certains, qui ne sont pas à l’aise avec l’écran
tactile pour jouer, à mieux profiter de leur machine sans avoir à emmener avec
un accessoire supplémentaire.
Déposé à l’été 2013, il y a peu de chance que l’on voit arriver ce genre de
chose dans l’iPhone 6s cette année, mais il est cependant toujours intéressant
de voir qu’elles sont les pistes explorées par Apple pour améliorer ses
appareils.
Seriez-vous partant pour ce genre de joystick ?

