Apple imagine un boitier AirPods avec un haut-parleur Bluetooth : une bonne idée ?

Apple avait dévoilé un nouveau boitier de rechargement sans-fil pour les
écouteurs AirPods que nous avions testé dans cet article et sont
en vente ici sur Amazon. Ce boitier sans-fil doit sortir cette année en
même temps que le chargeur sans-fil AirPower, mais la firme à la pomme pense
également à d’autres améliorations pour ce boitier.
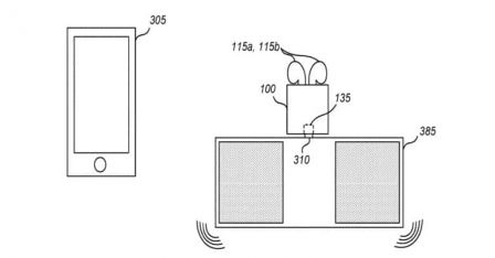
En effet, le bureau américain des brevets vient de publier les détails d’une
nouvelle demande de brevet par Apple qui décrit un boitier
pour des écouteurs-fil intégrant un haut-parleur Bluetooth
pouvant diffuser le son provenant des écouteurs.
Le brevet en question fait la description de ce qui semble être un boitier
pour les AirPods qui serait en mesure de recevoir un flux audio en provenance
des écouteurs, et transmettre celui-ci à un haut-parleur intégré au
boitier.
Un tel boitier permettrait aux utilisateurs de pouvoir continuer à écouter
de la musique pendant que les AirPods sont en train de
charger, mais aussi de faire écouter sa musique à d’autres personnes
se trouvant à proximité.
Ce brevet mentionne également une autre fonctionnalité avec l’ajout d’un
port, le boitier serait en mesure de recevoir un flux audio provenant d’une
source externe et de transmettre celui-ci aux AirPods qui seraient appairés en
bluetooth avec le boitier.
En attendant, la seule certitude concernant le boitier des AirPods est
l’ajout de la recharge sans-fil, toutefois cette version du boitier se fait
attendre en sachant qu’Apple n’a pas précisé de date de lancement.
Comme c’est le cas habituellement avec les brevets d’Apple, rien ne garantit
que celui-ci se transformera en vrai produit physique, toutefois cela donne une
idée des technologies étudiées par Apple pour améliorer ses produits.
Seriez-vous intéressé par un tel boitier AirPods ?

User1486620779835 (posté avec l'app i-nfo.fr V2)
20 avril 2018 à 11 h 17 min
Je vois pas le probleme de rajouter de manière logicielle sur la version
existente , 3 tap a droite le volume augmente et 3 tape a gauche le volume
baisse ,
Chloé78? (posté avec l'app i-nfo.fr V2)
20 avril 2018 à 1 h 37 min
Pourquoi pas si le son et le prix sont de bonnes qualités ?! ?
Raymond et Chloé78? (posté avec l'app i-nfo.fr V2)
19 avril 2018 à 20 h 05 min
Nous, on aimerait gagner au loto !
User1473973620486 (posté avec l'app i-nfo.fr V2)
19 avril 2018 à 17 h 55 min
Moi j’aimerai pouvoir monter ou descendre le volume en glissant mon doigt du
haut vers le bas sur l’air pod de droite et avancer ou reculer d’une chanson en
faisant pareil sur celui de gauche. Ça sera trop bon.