Apple imagine le futur des AirPods

novembre de l’année dernière,
un brevet accordé à Apple détaillait comment il serait possible d’améliorer
les prochaines générations d’AirPods en intégrant des capteurs
biométriques.
Et voici que le site web du bureau américain des brevets vient de publier
trois nouveaux brevets d’Apple qui détaillent des nouvelles
fonctionnalités biométriques et fitness pour des
écouteurs.
Plus précisément, un de ces brevets décrit comment il serait possible
d’améliorer significativement la réduction de bruit en
disposant de façon triangulaire trois microphones. Un point sur lequel, les
AirPods ont de grands progrès à faire.
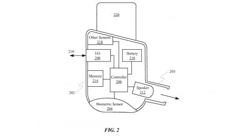
Les deux autres brevets dont un se nomme "écouteurs avec des capacités
biométriques", montrent comment les écouteurs pourraient effectuer
différentes mesures biométriques en ajoutant un capteur qui
serait en contact avec la partie appelée Tragus de l’oreille.
Parmi les différents types de mesure que pourrait effectuer ces écouteurs
avec différentes capteurs, les brevets en question mentionnent le
rythme cardiaque, le niveau de VO2 ou
consommation maximale d’oxygène (utile pour le sport), la conductance cutanée,
l’activité électrique du coeur, et la température.
Il s’agit cependant encore que de brevets, rien ne garantit une mise en
pratique de tout ce qui y est décrit dans des nouveaux brevets accordés à
Apple, toutefois cela donne une idée de la façon dont Apple pourrait améliorer
les prochaines générations d’AirPods.



User1473447057447 (posté avec l'app i-nfo.fr V2)
17 mars 2017 à 15 h 12 min
Imaginer le futur c’est bien. Etre capable de produire, distribuer et vendre
des produits qui sont annoncés à grands renforts de pub…c’est mieux. Il y a
tjrs 6 semaines de délai.
Grypas
17 mars 2017 à 22 h 53 min
Haa..Samsung permet déjà tout depuis début 2016 avec son produit concurrant
iconX…brevet ou pas…
Doudou (posté avec l'app i-nfo.fr V2)
17 mars 2017 à 18 h 46 min
Deja qu’on imagine le présent, faute de pouvoir en disposer… ?
Chris
17 mars 2017 à 15 h 41 min
@Esca25 tout à fait d’accord avec toi. J’attends juste de savoir s’il est
possible de faire une mise à jour de la puce interne ou de l’OS pour permettre
de changer le volume en tapotant sur l’oreillette. Car si Siri s’active avec 2
tapotements, il devrait être envisageable de créer d’autres actions avec un
seul tapotement. Et encore plus, si on pouvait changer de piste en plus ce
serait le top. Bref reprendre les fonctions de la télécommande actuelle sur les
earpods. C’est dommage car le produit m’intéresse beaucoup notamment pour
switcher d’un appareil IOS à MacOS rapidement.
User1489417474629 (posté avec l'app i-nfo.fr V2)
17 mars 2017 à 14 h 59 min
C d la merde ces écouteurs
Raymond (posté avec l'app i-nfo.fr V2)
17 mars 2017 à 14 h 51 min
1 jeune sur 4 à déjà des acouphènes. Achetez les et manger McDo, ça ira
mieux demain ?
Esca25 (posté avec l'app i-nfo.fr V2)
17 mars 2017 à 14 h 03 min
Déjà qu’ils ajoutent le plus important dessus cad de pouvoir monter ou
baisser le son sans passer par Siri et apres peut être que je les achèterais
mais sans ça à ce prix c’est rédhibitoire et surtout incroyable !