En images, les solutions pour rendre l’iPhone pliable à l’étude chez Apple
2019 se profile comme l’année zéro du téléphone pliable, avec de nombreux constructeurs qui devraient dévoiler leur premier modèle, et notamment la firme coréenne Samsung à son prochain événement “Unpacked” qui a lieu cette semaine, le 20 février.
Apple ne se précipite jamais pour adopter une nouvelle technologie, la firme à la pomme préfère attendre de voir si cela peut apporter une réelle valeur ajoutée à ses produits et pour les utilisateurs. En attendant de savoir si les premiers smartphones pliables vont trouver leur public, Apple étudie différentes solutions pour créer un tel iPhone.
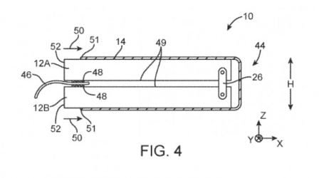
Le bureau américain des brevets vient de publier un nouveau brevet déposé par Apple, et qui décrit plusieurs méthodes pour rendre un iPhone pliable. Ce brevet comporte de nombreuses illustrations pour aider à expliquer le fonctionnement des différentes solutions envisagées.
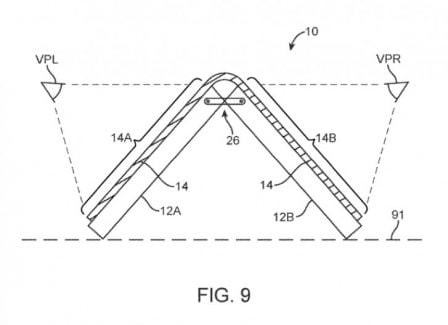
Il y a des méthodes simples et mécaniques à base de charnières qui permettent de plier l’iPhone en deux par le milieu. Dans différentes illustrations, on peut voir des charnières plus compliquées composées de plusieurs pièces.
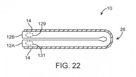
Dans une autre image, on peut voir également un modèle pliable avec aucune charnières et un système de fermeture magnétique pour garder les éléments ensemble, en mode plié.
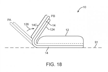
On peut aussi mentionner une solution avec la partie haute de l’écran qui se replie sur le bloc principal, mais aussi une version d’iPhone pliable avec trois blocs distincts reliés par plusieurs charnières.
Il s’agit là de brevets et rien n’assure qu’Apple les utilisera à l’avenir, toutefois cela donne une idée des solutions envisagées par Apple pour un iPhone pliable.







Terriblos (posté avec l'app i-nfo.fr V2)
18 février 2019 à 11 h 54 min
Et oui ce n’est pas Apple qui a de nouvelles idées. Il se contente de suivre maintenant.
freeworldgreg (posté avec l'app i-nfo.fr V2)
18 février 2019 à 13 h 16 min
@Terriblos
freeworldgreg (posté avec l'app i-nfo.fr V2)
18 février 2019 à 13 h 19 min
@Terriblos bonjour malheureusement votre réponse est juste mais sans l’être car cette article n’ai pas neuf et cela date de plusieurs année que Apple essaye de rendre pliable ces iPhone si je ne me trompe pas depuis l’iPhone 5
Après le tout ce n’ai pas d’y penser mais d’avoir les ressource technologique pour le faire et pour moi pour le moment seul Samsung pourrais arriver à avoir un tel projet
Après je dirais que ce serait une vrai innovation si ils arriverais à faire un portable à la Tony Stark je kifferais réellement
Al
18 février 2019 à 13 h 22 min
L’art de savoir plier un plastic en deux, en trois… à droite, à gauche….
On dépose des brevets pour tout et n’importe quoi ma parole…
Bientôt un brevet pour le fils à couper le beurre, ou comment faire de l’eau tiède…
Lecteur-1525915266 (posté avec l'app i-nfo.fr V2)
18 février 2019 à 13 h 27 min
Alors on va le répéter encore et encore, chez Apple ils n’ont pas pour objectif d’être les premier mais les meilleurs ( penible de ne pas assimiler ça ) , ce qui, au final, revient à être les premiers puisque c’est souvent eux qui sortent quelque chose de fiable sur laquelle on se base pour créer l’avenir et le marché
Gator95? (posté avec l'app i-nfo.fr V2)
18 février 2019 à 14 h 31 min
Sans être pliable un Clamshell (terme qui parlera aux “anciens” comme moi) Apple serait très bien et très intéressant. Personnellement, je ne suis pas inpar un pliable possiblement (très) fragile.
Gator95? (posté avec l'app i-nfo.fr V2)
18 février 2019 à 14 h 32 min
Et puis, si on se fie à la photo, à l’endroit de la pliure ce ne pourra être (à priori) que très épais donc ou es tu l’intérêt ?
Rayan (posté avec l'app i-nfo.fr V2)
18 février 2019 à 17 h 13 min
Ne sert strictement à rien
SunRisingUp
18 février 2019 à 17 h 57 min
Le dernier dessin me fait penser aux phablets de Westworld!
Terriblos (posté avec l'app i-nfo.fr V2)
18 février 2019 à 19 h 22 min
@Lecteur-1525915266
Et pourtant Apple n’a pas assez de mots pour venter ses produits. Ceci est une révolution !
Il faut reconnaître que si Apple a été innovant et a inspiré toutes les autres sociétés, ils restent maintenant à la traîne.
Avec le budget alloué à la recherche et développement et tous ces ingénieurs embauchés, c’est décevant.
User1480788608741 (posté avec l'app i-nfo.fr V2)
18 février 2019 à 22 h 49 min
Une pince à billet.
Calypso (posté avec l'app i-nfo.fr V2)
18 février 2019 à 23 h 11 min
@Terriblos as tu comparé le budget d’Apple en R&D par rapport à Samsung ? Et bien tu serais bien étonné !!
Chloé75? (posté avec l'app i-nfo.fr V2)
19 février 2019 à 1 h 24 min
Poufff mais quel copieur ce Samsung ?!!
Apple avait déjà lancé le concept du smartphone pliage sans les mains ; l’iPhone 6 !
Il suffisait simplement de le laisser dans la poche arrière…