Suivez-nous

Apple

Voilà comment Apple pourrait intégrer des capteurs variés à l’iPhone ou à l’iWatch

Publié le

 

Par

sensor-4.jpg Souvent les demandes de brevet déposées
par Apple sont de précieuses sources d’informations. Celles dont il est
question aujourd’hui ne font pas exception à la règle et viennent nous apporter
quelques précisions sur la futur iWatch et sur les capteurs qui pourraient
l’accompagner.

S’il est souvent question de mesurer les comportements de l’utilisateur,
cette fois c’est l’environnement qui est au programme :

Dans les deux demandes de brevets découvertes il y a peu par Apple Insider,
Apple décrit la manière dont des capteurs pourraient être embarqués dans des
appareils électroniques portables qu’il s’agisse d’iPhone, d’iPad ou même de
montre.

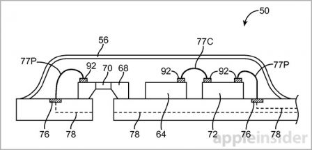
Cette première image montre comment plusieurs capteurs pourraient être
ajoutés à un circuit imprimé flexible et viendraient mesurer la température, la
pression atmosphérique, le taux d’humidité ou même le niveau sonore. Les
capteurs sont partiellement intégrés dans le châssis de l’appareil, mais
doivent également pouvoir être au contact de l’environnement pour effectuer les
mesures. Apple propose donc de les recouvrir le plus possible d’une structure
rigide.

sensor-2.jpg

Afin de les intégrer plus facilement, ces capteurs ne nécessitent pas de
prise spécifique, mais peuvent venir se brancher sur une prise haut-parleur ou
micro déjà existante. Les informations ainsi collectées peuvent alors être
utilisées par le processeur de l’appareil et affichées à l’écran.

sensor-3.jpg

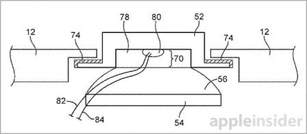
Second brevet et nouvelle manière d’intégrer les capteurs. Cette fois c’est
dans un bouton qu’Apple imagine venir glisser son capteur. Imaginez voir un
capteur de température arriver dans le bouton volume de l’iPhone et vous ne
serez pas loin de la vérité.

Dans ce cas, Apple a bien entendu pensé à tout et le capteur est capable de
détecter s’il est en contact avec de l’air ou avec le doigt de l’utilisateur
afin de proposer une mesure stable et fiable. Une fois de plus l’info est
transférée pour être utilisée dans une appli.

sensor-4.jpg

Bien entendu, il ne s’agit là que d’idée jetée sur le papier et il est
aujourd’hui impossible si elles ont été ou pas retenue. Quoi qu’il en soit,
voir Apple travailler sur les capteurs est une bonne nouvelle pour ceux qui
attendent plus d’Apple de l’iPhone et peut être aussi de l’iWatch


source

i-nfo.fr - App officielle iPhon.fr
i-nfo.fr - App officielle iPhon.fr
Par : Keleops AG
4.3 / 5
734 avis