Un iPhone pliable ? Pas de problème ! On y réfléchit chez Apple

chercheurs expérimentent des smartphones avec écran flexible, Apple réfléchit
également à l’idée d’un iPhone pliable.
En effet, un brevet accordé à Apple et publié cette semaine sur le site web
du bureau américain des brevets décrit un iPhone qui pourrait se plier
en deux pour offrir un gain de place. Il peut également toujours selon
la conception d’Apple, se fixer aux vêtements grâce à un système de
clips.
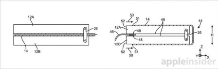
Ce brevet qui se nomme "appareils avec écran flexible"
montre comment il serait possible de créer un iPhone pliable avec un
écran OLED souple et un boitier métallique constitué de deux
parties reliées par un système de charnière.
La partie supérieure du smartphone intégrerait les modules appareil photo,
les contrôleurs d’écran, les haut-parleurs et les capteurs de luminosité,
tandis que la partie basse permet de loger microphones, processeur, puce
graphique et autres composants comme le moteur de vibration "haptique".
De son coté, le grand concurrent Samsung, toujours très en avance dans le
domaine des écrans, a
dévoilé un écran flexible en Mai dernier vu ici
Sans que l’on en soit déjà arrivé à ce niveau, Apple devrait selon les
rumeurs récurrentes lancer l’année prochaine un iPhone 8 avec un écran OLED
flexible. Cependant, la forme générale resterait probablement la même, à savoir
un seul bloc et non deux parties comme décrit ici, la partie flexible étant
utilisée pour supprimer les bordures autour de l’écran.
Alors comme tous les brevets, rien ne garantit qu’il sera utilisé et se
concrétisera, toutefois, cela donne une idée des voies explorées par Apple en
ce qui concerne l’évolution de l’iPhone dans les années à venir. La réduction
de l’encombrement, pour aller vers des machines tout écran (de grande taille)
devrait être le prochain challenge des fabricants. La flexibilité des
afficheurs désormais industrialisée va les y aider !



User1479530333197 (posté avec l'app i-nfo.fr V2)
29 novembre 2016 à 1 h 47 min
L’iphone sur la photo me fait penser au téléphones dans la série
Westworld… Ça viendra un jour je pense c’est pas mal !
User1476807527515 (posté avec l'app i-nfo.fr V2)
28 novembre 2016 à 10 h 22 min
Copier les bonnes idées ok mais copier des idées pareilles… berk
Gator95 (posté avec l'app i-nfo.fr V2)
28 novembre 2016 à 9 h 05 min
Plus qu’un modèle pliable, pas forcément pratique à l’emploi (vu la
dimension ce n’est plus un iPhone mais plus un iPad pliant) je verrais bien la
genèse d’un modèle clamshell (à clapet pour les gamins qui n’ont pas connus ?)
qui aurait très probablement son publique et qui permettrait d’avoir un produit
vraiment différenciant.
?
User147497307725 (posté avec l'app i-nfo.fr V2)
28 novembre 2016 à 7 h 40 min
Personne ne les a copié sur le Samsung qui explose
Swimmy (posté avec l'app i-nfo.fr V2)
27 novembre 2016 à 20 h 53 min
Copier des mauvaises idées? Je ne crois absolument pas à ce gadget qui
vieillira forcément mal!
Kota
27 novembre 2016 à 20 h 37 min
@User1479836618338
En effet, ça ne fait pas 40 ans qu’Apple est copié, il n’y a pas eu un avant et
un après iPhone, ce dernier n’a pas inspiré l’ensemble des concurrents et
Samsung n’est pas un copieur reconnu ?
User1479836618338 (posté avec l'app i-nfo.fr V2)
27 novembre 2016 à 18 h 31 min
Pour le coup ils copient Samsung, qui a déjà commencé à y bosser dessus
depuis un moment. Mais bon il y aura encore de commentaires disant que c’est
Samsung qui copie… ?