La dernière idée d’Apple : des AirPods enrichis de capteurs pour le coaching lors de mouvements
D’après un récent rapport de Ming-Chi Kuo, Apple prévoirait une prochaine génération des AirPods pour la fin de l’année ou début 2020. Celle-ci pourrait avoir une résistance à l’eau et à la sueur et un système de réduction de bruit active.
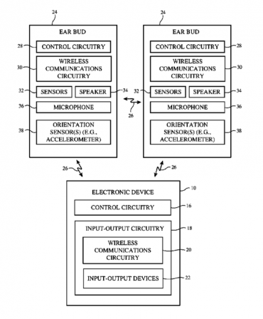
Mais selon un nouveau brevet obtenu par Apple et publié par le bureau américain des brevets, Apple réfléchirait à des fonctionnalités supplémentaires, pour de futurs AirPods. Notamment la détection des mouvements de tête pour du coaching audio.
Le brevet en question, décrit comment il serait possible, d’ajouter des capteurs comme un accéléromètre, dans les écouteurs, afin de détecter les mouvements de tête de l’utilisateur.
Ces informations seraient alors transmises en temps réel à une Apple Watch ou un iPhone. Puis ce dernier renverrait des instructions audio, par exemple dans le cadre d’une séance d’exercice.
Le brevet suggère que l’iPhone ou Apple Watch pourrait envoyer plusieurs types de retour audio, par exemple des rapports sur l’exécution d’un exercice, ou encore des alertes (exemple : tête mal orientée).
On imagine que cela pourrait être utile pour certains sports, notamment le yoga et toutes les poses à effectuer dans différentes positions, avec une inclinaison de la tête qui change souvent.
Comme c’est le cas habituellement avec les brevets d’Apple, rien ne garantit que celui-ci se transformera en nouvelle fonctionnalité des AirPods, toutefois cela donne une idée des technologies étudiées par Apple pour améliorer de futurs AirPods.
