Candleman est un jeu sorti sur mobile en début d'année, mais disponible depuis plus longtemps sur consoles. Il est arrivé sur iOS avec déjà de très...
Il existe différentes méthodes utilisées par les escrocs pour blanchir l'argent des cartes de crédit volées. Ces malfaiteurs s'intéressent maintenant aux jeux mobiles, comme nouvelle méthode...
À chaque nouvelle version d'iOS, Apple offre de nouveaux fonds d'écran pour iOS et macOS. Avec le temps, cela représente un nombre important de fonds d'écran...
L’analyste Ming-Chi Kuo livrait ce mois-ci un nouveau rapport annonçant tous les prochains produits qu’Apple devrait dévoiler cet automne. Il a notamment mentionné de nouvelles Apple Watch...
Il y a quelques mois, le célèbre éditeur Sega lançait le jeu "Dx2 Shin Megami Tensei: Liberation" au Japon. Ce jeu est issu d'une licence populaire...
L'iPhone est depuis plusieurs années maintenant, le smartphone qui se revend mieux sur le marché de l'occasion. Car il est supporté bien plus longtemps par Apple,...
Depuis de nombreuses années maintenant, Apple utilise les capteurs photo de Sony dans ses iPhone. Les innovations photo de Sony dans le domaine du smartphone, sont...
Selon plusieurs rumeurs, Apple intégrerait un chargeur USB-C et un câble USB-C vers Lightning dans la boite des prochains iPhone. Cela permet de bénéficier de la recharge rapide...
La semaine dernière, les spécialistes du démontage de chez iFixit ont mis nu à les entrailles du nouveau MacBook Pro 2018. Ils ont constaté que Apple...
Tous les ans ou presque, des éditeurs européens d'apps iOS et Mac connues se regroupent pour proposer des promotions estivales. C'est là toujours une bonne occasion...
En parallèle de l'app de cartographie Google Maps, qui regorge d'astuces pratiques à retrouver là, le géant de la recherche propose aussi l'app iOS Google Earth. Pour rappel,...
Les différentes bêtas d'iOS 12, watchOS 5 et macOS Mojave progressent à un rythme régulier avant leur lancement cet automne pour tous les utilisateurs. Le HomePod...
L’Apple Watch est un compagnon particulièrement utile pour ceux qui veulent garder la forme, perdre du poids ou même augmenter ses capacités physiques en se fixant...
La version 11.4 d’iOS a été la dernière mise à jour importante pour iOS 11. Et alors qu’une mise à jour d’un système d’exploitation doit normalement...
Galak-Z est un jeu sorti en 2015 sur consoles et PC initialement. Il est signé par le studio de développement 17-Bit et se veut un mélange...
Comme on l’a vu pour les précédentes apps de notre rendez-vous quotidien Vacances en app, les vacances sont souvent synonymes de longues routes, mais aussi de...
Sur iOS, il est possible d'afficher des widgets dans le centre de notification. À l'aube de la disponibilité grand public de la nouvelle version 12 d'iOS,...
On a pu voir récemment qu’un iPhone X avait survécu a deux semaines d’immersion au fond d’une rivière et cela ... sans protection étanche. C’était bien involontaire et...
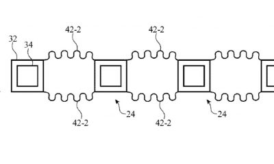
Le bureau américain des marques et des brevets a récemment publié un nouveau brevet à mettre au compte d’Apple. Déposé initialement en 2015, le papier technique...
Dans le cadre de son projet Titan ou Apple Car, Apple continue sur sa lancée en augmentant petit à petit sa flotte de véhicules test. En...