Oubliez le pavé tactile ou la Magic Mouse, Apple a une nouvelle idée de souris
Les ingénieurs d’Apple ne manquent pas d’ingéniosité quand il s’agit de faire de nos Mac de véritables couteaux suisses.
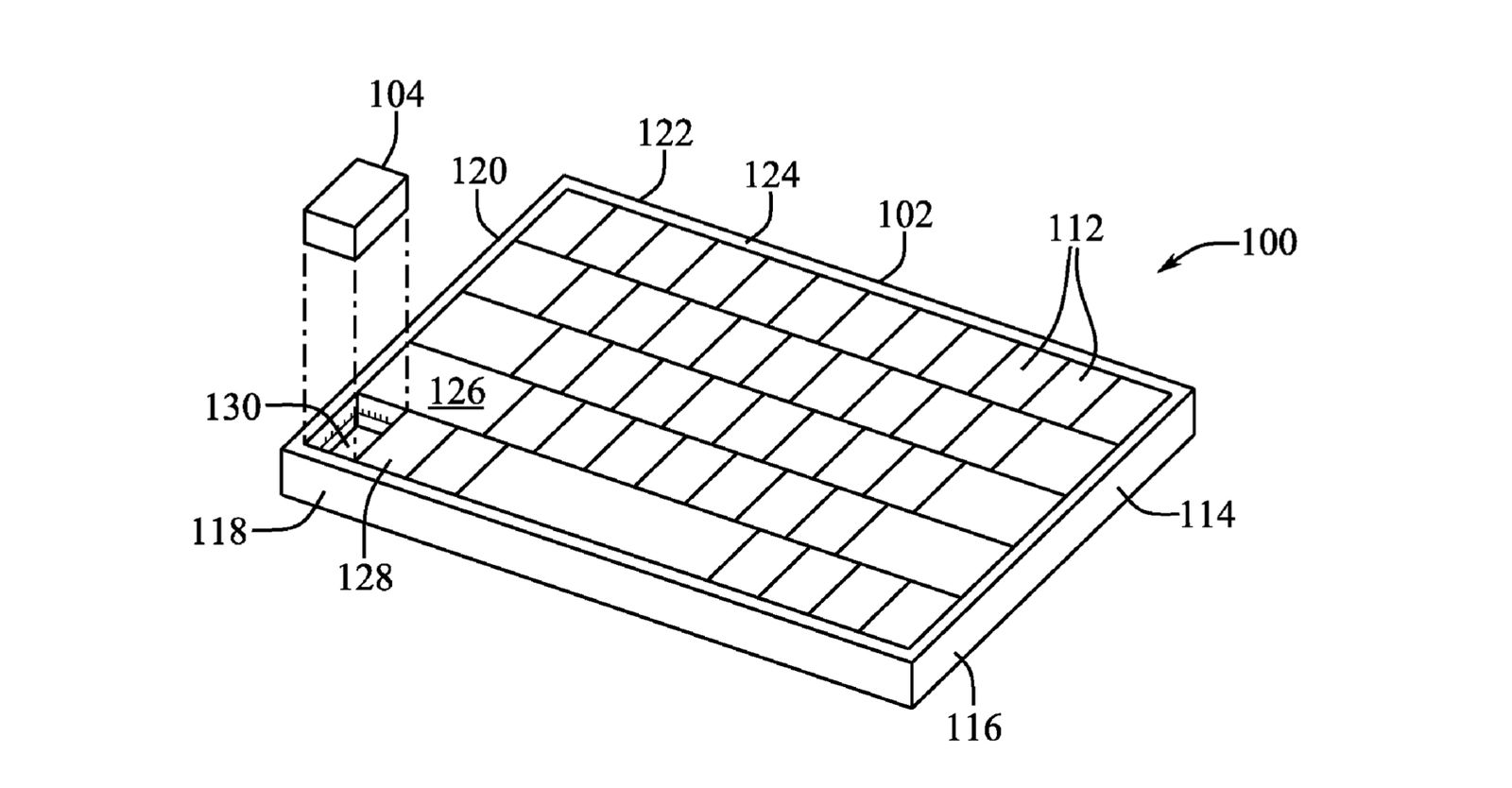
Après le Mac qui recharge les iPhone sans fil et celui qui fait de même avec les Magic Keyboard, voici qu’Apple imagine un ordinateur portable dont l’une des touches pourrait se détacher du clavier. Celle-ci ferait alors office de souris, ou plus précisément de pointeur comme les télécommandes de certains vidéoprojecteurs. Seulement, pour l’instant, seul un brevet évoque cette idée. Or, ceci n’est pas toujours synonyme de nouveau produit à venir en Apple Store.
Pour Apple, cette nouvelle technologie pourrait notamment être appréciée des graphistes ou des utilisateurs de logiciels de conception assistée par ordinateur (CAO). Mais ce que l’on retiendra surtout, ici, c’est le format particulièrement compact de ce contrôleur potentiel. À la différence, par exemple, d’une Magic Mouse, non seulement plutôt encombrante mais aussi peu ergonomique.

© Apple / USPTO
Comment ça marche ?
Tel Kinect, la Siri Remote des Apple TV ou encore la Wii, cette nouvelle interface de commande pour Mac communiquerait sans fil avec le système d’exploitation de l’ordinateur. Il pourrait par ailleurs s’agir d’une bonne solution pour l’accessibilité de certains utilisateurs, pour qui des outils comme la souris sans fil ou le Magic Trackpad sont par exemple trop difficiles à utiliser.
Apple n’a jamais communiqué sur un tel produit lors de ses keynotes, cependant. Nous ne sommes donc probablement pas proches d’une date de sortie potentielle. Il faut, d’ailleurs, parfois patienter de longues années avant qu’une technologie apparue dans un brevet ne voit le jour. La preuve avec le casque de réalité mixte Apple Vision Pro, dont de premiers schémas avaient pu être repérés auprès de l’USPTO (équivalent de l’INPI aux États-Unis) dès 2016.
Une touche totalement fonctionnelle
Lorsque correctement placée sur le clavier du MacBook, cette touche qui peut donc s’en désolidariser se comporterait comme les autres. On peut donc supposer qu’Apple choisira d’y associer une lettre, afin de ne pas perdre de la place sur le boîtier.
De nouveaux MacBook pourraient voir le jour l’an prochain, avec une puce M3 sous le capot. Mais, on l’aura compris, ce ne sont probablement pas des modèles aussi proches qui pourront être dotés de cette touche pour le moins originale.
- Un brevet d’Apple montre une touche de MacBook qui pourrait “sortir” du clavier
- Celle-ci servirait de pointeur, pour faire office de souris, comme avec un vidéoprojecteur
- Aucune date de sortie n’a été évoquée pour le moment
