Mise à jour 17h : une nouvelle version beta d'iOS 12 est disponible, elle corrige le problème, voir ici ! Alors que l'on est déjà à...
Apple vient d'annoncer officiellement la conférence de septembre, ce sera le mercredi 12, l'occasion de dévoiler ses nouveautés de rentrée. On l'évoquait ici, de nouveaux iPhone...
Il n'y avait pas vraiment de suspense concernant la date à laquelle Apple devait tenir sa conférence de presse habituelle de rentrée. En effet, l'hypothèse d'un...
Sur iPhon.fr, vous retrouvez chaque semaine une sélection des nouveautés jeux tout récemment sortis. Aujourd’hui, il y a de quoi faire, avec 36 nouveaux jeux détectés....
Dernièrement, on a vu Philips accélérer la sortie de nouveautés du côté de sa gamme d’éclairages connectés Hue, pour l'intérieur, mais aussi le jardin. Ces derniers jours,...
Tim Cook a récemment vendu quelques actions Apple, ce qui lui a permis de récupérer plusieurs millions de dollars. À cette occasion, Cult Of Mac a...
Afin de rattraper son retard dans le segment des enceintes connectées haut de gamme, Google a sorti un nouveau modèle, le Home Max. Il s'agit du...
Le fabricant spécialiste des enceintes connectées Ultimate Ears, filiale de Logitech désormais, a mis à jour ses deux modèles phares, Boom et Megaboom. Ceux-ci passent en...
Dans la série de jeux issus de la franchise du requin affamé, on connaissait deux titres : Hungry Shark World disponible ici sur l'App Store, et...
Apple a confirmé le rachat de l’entreprise Akonia Holographics. Celle-ci a été créée en 2012 et s’est tout d’abord intéressée aux technologies de l’holographie pour ensuite...
Eve Systems, anciennement Elgato, que l'on connait pour ses accessoires connectés HomeKit, comme la prise Eve Energy, testée dans nos colonnes, mais aussi les capteurs Eve...
Jusqu'à ce jour, pour faire une demande de certification de compte sur Instagram, il fallait avoir un certain nombre d'abonnés, ou en tout cas, un certain...
Le tower defense est un genre de jeu vidéo qui s'est bien adapté aux mobiles et tablettes. Les développeurs du studio Animalada l'ont bien compris puisque...
Tesla vend des voitures, mais aussi des produits dérivés à l'image de la marque d'Elon Musk. Il est possible de s'habiller grâce Tesla, mais aussi de...
Sur eBay, il est possible de trouver parfois de belles antiquités. Les prix peuvent d'ailleurs monter assez haut pour des objets très rares et/ou anciens, que...
Voilà une bonne surprise pour les possesseurs de cet appareil que l'on pensait à l'abandon par la société californienne. Celle-ci propose en effet un nouveau firmware...
Apple prépare une mise à jour importante de son app Apple Music, non pas pour iOS, mais pour Android. Au programme de cette version actuellement en...
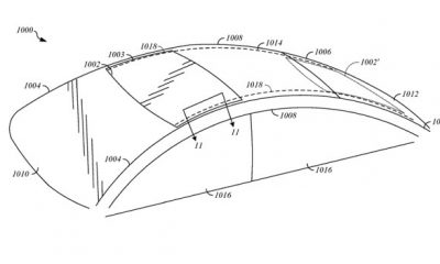
De nouveaux brevets liés à des technologies autour de l'automobile ont été publiés récemment, signés de la firme de Cupertino. L'un décrit un système de toit...
Pegatron, Foxconn et TSMC, sous-traitants de longue date pour les iPhone d’Apple, peuvent tabler sur une fin d’année lucrative, grâce au lancement des nouveaux iPhone. Mais...
Gartner est une société qui publie régulièrement des analyses de marché basées sur ses propres chiffres. Et son dernier rapport s’intéresse aux ventes de smartphone sur...