La dernière version majeure du système d'exploitation d'Apple est de plus en plus présente sur ses smartphones. Par conséquent, les logiciels qui y sont installés se...
Jusqu'à maintenant, les rumeurs à propos du prochain smartphone haut de gamme d'Apple se faisaient rares et disséminées à droite, à gauche par de nombreuses sources...
Vous recherchez de nouveaux jeux iOS à vous mettre sous la dent ? Voici justement notre nouveau best-of de la semaine.
Apple développerait un système de recommandations d’endroits, probablement similaire à celui de l’App Store pour les applications, pour son service Apple Maps.
D’après un article de Digitimes, le successeur de l’iPhone SE entrerait dans les dernières phases de vérification. Cependant, il y a des chances pour que sa...
Le prochain keynote serait l'occasion idéale de le dévoiler au grand public. Le dernier modèle en date est sorti en novembre 2018 et est toujours en...
Le marché du dating est notamment visé par une mise à jour des règles que les éditeurs doivent respecter pour voir leurs programmes approuvés sur iOS.
Tout ne fonctionne pas entièrement, mais cette prouesse originale vaut le détour. Quelques compétences techniques sont toutefois nécessaires pour en profiter.
Vous allez pouvoir communiquer avec tous vos amis sans devoir passer par un client alternatif ou garder un onglet ouvert sur votre navigateur, et ce dès...
Les stocks s'amenuisent très rapidement et pourraient causer de sérieux ennuis aux magasins qui accueillent des clients venus pour des réparations. C'est l'ensemble de la chaîne...
Le festival d'Austin accueille chaque année la crème de l'audiovisuel quelque temps après les prestigieuses cérémonies des Oscars et des Césars qui viennent de se terminer.
Apple n’autoriserait ses employés à voyager en Chine, en Corée et en Italie, que si ces voyages sont vraiment indispensables.
L'épidémie de coronavirus ne serait qu'une mauvaise passe, et les prochains mois pourraient signer une forte de période de croissance pour la commercialisation des iPhone.
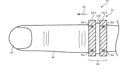
Les ingénieurs d’Apple ont imaginé une bague connectée, bourrée de capteurs, et utilisant une connexion sans fil, qui pourrait servir de contrôleur pour les futures lunettes...
Le constructeur Oppo s'apprête à présenter sa première montre connectée, l'Oppo Watch, ce mois de mars. Et le design devrait vous être familier.
À destinations des couples principalement.
La nouvelle série produite par Steven Spielberg ne jouit pas des meilleurs retours de la part de la presse pour l'instant.
De nouvelles rumeurs suggèrent que Cupertino prévoit de lancer non pas un, mais bel et bien six appareils équipés d'un écran mini-LED d'ici à l'année prochaine.
... Évidemment annulé comme toutes les grandes conférences qui doivent avoir lieu dans les semaines qui viennent. Heureusement, une version numérique sera diffusée pour les plus...
Vous l'attendiez, le voici arrivé ! Facebook a écouté les doléances de ses utilisateurs et a commencé à proposer une nouvelle version de son application de...